Porcelain Insulator News
by Jack H. Tod
Reprinted from "INSULATORS - Crown Jewels of the Wire", February 1978, page 24
Dear Jack:
I recently picked up another insulator for my collection that is
new to me, and I would appreciate any information you may have on it. I've
enclosed a shadow profile drawing with pertinent dimensions.
It has a reddish-brown glaze, 1-3/8" pin hole, top-rest firing surface and a "LIMA
32" marking. It's a two-piece, cemented multi.
Arthur E. Jones
Newcastle, Maine

- - - - - - - - -
Dear Arthur:
Not much I can tell you about your LIMA 32 item, since I have
never had or seen any Lima Insulator Company catalogs. The plant history would
date your specimen as from about the 1905-1908 period, and the insulator style
agrees with the production of that vintage.
Specimens with LIMA markings are
all scarce, since the plant life was so short, and the antique insulator styles
such as this have mostly found their way to the dumps long ago. This particular
LIMA would have to rate as a real goody for your collection.
Jack
Lew Hohn (Rochester, N.Y.) sent a foil impression of the new GOULD marking on
pin type insulators (see Jan '78 CJ re Gould). The incuse marking is the outline
of the company logo just as pictured at the right (actual size marking).


INSULATORS FROM IRELAND
Here's some good news for porcelain collectors, and especially those who
have asked about where they could get foreign insulators.
Charles Doogan
(Ireland) recently sent to me a parcel of eight sample insulators from the land
of Erin, and we have corresponded about his possible sale of these insulators to
interested U.S. collectors. More on this later, but first a brief description of
the sample insulators received.
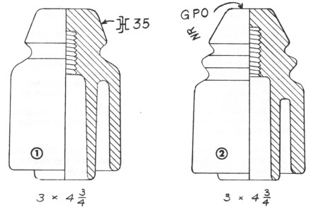
The pin type styles are either "large" (3" x 4-3/4", half-size in the above drawings) or
"small" (2-3/8" x 4"). They
have either one or two grooves as illustrated in the above drawings. Most have
extended inner petticoats, but a couple have recessed petticoats.
(1)
Illustrated above. high grade porcelain, white glaze, top rest, incuse marking
on the side of crown as shown above.
(2) Porcelain, off-white glaze, markings on
top of crown as illustrated. The "GPO" stands for Government Post Office, the
governing authority over communications lines in the British Isles.

(3)
Porcelain, white glaze, top rest, incuse marking as illustrated #3 above. The
marking is clear, but I can't decode the element in the figure involving the
hand. This is the small size with two grooves, and it is the only porcelain
one with a recessed inner petticoat.

(4) Porcelain, small size, two grooves, white glaze, petticoat firing rest,
underglaze "P. & T." marking as shown above for #4.
(5) Pottery (not porcelain), small size, two grooves, petticoat firing rest,
brown glaze, unmarked.
(6) Molded composition, black, small size, two grooves, recessed inner
petticoat, lines from multipiece forming mold. A marking "T 5" is
embossed on the crown top.
(7) Pottery (not porcelain), large size, two grooves, petticoat firing rest,
brown glaze, two incuse markings on crown top -- "G.P.O." plus a
"7".

(8) Porcelain, a 3-1/2" x 3" shackle insulator (petticoated and
skirted dead-end spool), white glaze, underglaze markings as shown for #8 above.
Mr. Doogan will ship these insulators in lots of 8 items, all different. The
mixtures will be about like the samples above, but occasionally with a screw-top
type (dry spot) and other different varieties as available. I suggested to him
that he attempt to dig up and furnish information regarding the various markings
(manufacturers, vintage, etc.). These are $50 per lot postpaid from Ireland.
Delivery tine would probably be 4 to 5 weeks.
Address: Charles Doogan, Derry Connor, Gortahork, Co. Donegal, Ireland. The
airmail letter rate to Ireland is $.31 per half ounce.
You can write directly to Mr. Doogan if you have any questions regarding the
insulators. He has a number of different styles available, and you can query him
about any other deals aside from the packaged lots mentioned above.
This all sounds like it would be of interest to a number of our readers, and
I'm happy to be able to pass along the information about it here in the
column.
Jack

Dear Jack:
As you know, I have several Hi-Top types. I recently added a couple
more.
One is a U-789 with an incuse I-T-E marking. This surprised me, as I thought
most Hi-Top designs were discontinued by the time I-T-E came into the picture
(Victor Insulators Division, Victor, N.Y., in 1953).
I also came upon a U-785 with the ILLINOIS word incuse marking, and
that is the first Hi-Top of that company I've had.
Do you know if Knox made Hi-Top styles? I think that's the only company
existent during the Hi-Top design years for which I lack a Hi-Top insulator
specimen.
Lew Hohn
Rochester, N.Y.
- - - - - - - - - -
Dear Lew:
Don't stamp out the Hi-Top era prematurely. I've seen them in catalogs of the
1950's of several companies, and they could have been made to very recent times
(if not still current) by one or more companies -- notably Ohio Brass Co.
Looks like you still have at least one more company to chase down on these.
Knox did catalog "HIGH TOP" insulators. These were the four sizes of
skirt-rest styles U-782A, U-791, U-796 and U-801 Sim. Knox has a habit of not
dating their catalogs, so I don't know when these were produced.
P.P. Inc. made Hi-Top styles at least through 1955 so I wouldn't be surprised
if you also found Hi-Tops with the "Chance" marking too (1956 &
later).
Jack
Lew Hohn (Rochester, NY) sent sketches and data on all the items
below, and which are pictured here half-size. He was especially interested in
finding out about the DAR-LINK item and any patent which might describe its use,
and also any patent which might fit the Ohio Brass Company strain.

This ARGUS arrestor is white with dark green underglaze markings on its top.
The two inside end pieces are embossed as shown at the right.

My files show this to be Foote, Pierson Co., Inc., 160-162 Duane St., New
York City, established 1895, H. G. Pierson president and general manager.

This one (at left) is brown with embossed markings. The Square-D
manufacturer's marking is recess-embossed on the underside.
I'll put my chips on Chicago Radio Laboratory, Ravenswood & Schreiber
Aves., Chicago, established 1919, manufacturer of radio apparatus.

This MARKS arrestor is dark blue glaze with embossed markings. I have no file
data on this company name.

The DAR-LINK item here is relegated to my "whatisit?" file. I have
a hunch it might have something to do with electrical insulating, and maybe some
reader can identify it for us. Lew has one with light blue glaze and another
with light brown glaze. It has three triangularly-arranged firing feet on its
underside.

This strain with O-B marking is obviously designed for utilities who can't
make up their mind on whether to use open-end or closed-end strain insulators.
In my patent card file, I have one patent on strains with the small open slot
leading to the larger strain-wire hole -- patent #1,028,104, June 4, 1912,
Oliver L. Fletcher, assignor to Peru Electric Co., Indiana. The illustration in
this patent is for a non-conventional shape of strain.
If O-B did apply for a patent on this gismo, it would have to have been for a
Design Patent which covers the specific shape of their strain and not the
novelty of the access slot to the wire hole. Needless to say, O-B could have
made these for Peru Electric Co., but the absence of a Peru marking and the
presence of the prominent O-B marking would seem to rule that out.
|