"Patent Pages"
by Ray Klingensmith
Reprinted from "INSULATORS - Crown Jewels of the Wire", May 1981, page 17
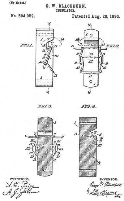
The Blackburn Patent
This month I'm writing
about another of the very unusual insulators, the Blackburn patent.
This particular invention was patented in 1893, and so far only one
specimen has been found. This one was found in South Jersey many years ago by a
telephone lineman, when it was augered out of the ground at the time a new pole
was being installed!
It is somewhat different than the patent drawing, in that
it is made to fit a standard threaded pin, rather than being a "block
type" as referred to in the specifications. This item is very hard to
picture in one's mind, even with photos, until after you view it yourself. From
the front it almost looks like a "pony", but from a side view it takes
on a totally different appearance.
The front and back are completely flat from
the top to near the base. Each of the two flat areas has two slightly indented
holes, which enter the body of the insulator for about 1/8 inch (See front and
angled photos.). These holes are slightly below the "wire groove".
Their purpose was to hold the "wire bail" which fits onto the
insulator. Those of you familiar with the old wire bail fruit jars will have
some idea how this works. When this insulator was found, it had the original
bail still attached, but it was badly rusted and quickly came apart.

Front view showing the PAT'D AUG 29-93 embossing.
Notice the two indentations for the bail wire to fit into. |
The color
of the glass in the insulator is light aqua. At present, the manufacturer has
not been confirmed. Palmyra, New Jersey, is near Philadelphia, Pennsylvania,
where it may have been made, or it could have been produced in one of the dozens
of glasshouses in New Jersey. As stated in one of my previous articles, New
Jersey had a great number of glass manufacturing companies over the years. I
plan to further my research in that area this year and to keep all of you out
there informed on what I find.

Side view
showing the flat front and back. |

Top and side angle view. Notice the two
indentations once again on the flat sides. |
|