F H Withycombe
by George F. Lahm
Reprinted from "INSULATORS - Crown Jewels of the Wire", June 1972, page 6
Beginning text in patent document:
UNITED STATES PATENT OFFICE.
FREDERICK HENRY WITHYCOMBE, OF MONTREAL, CANADA, ASSIGNOR OF
ELEVEN-TWENTIETHS TO CLEMENT HENRY McLEOD, OF SAME PLACE.
DESIGN FOR AN INSULATOR.
SPECIFICATION forming part of Design No. 31,798, dated November 7, 1899.
Application filed September 15,1899. Serial No. 730,635. Term of patent 14 years.
Full document:
UNITED STATES PATENT OFFICE.
|
----------------
|
FREDERICK HENRY WITHYCOMBE, OF MONTREAL, CANADA, ASSIGNOR OF
|
ELEVEN-TWENTIETHS TO CLEMENT HENRY McLEOD, OF SAME PLACE.
|
---------
|
DESIGN FOR AN INSULATOR.
|
|
---------
|
SPECIFICATION forming part of Design No. 31,798, dated November 7, 1899.
|
Application filed September 15,1899. Serial No. 730,635. Term of patent 14 years.
|
|
To all whom it may concern:
Be it known that I, FREDERICK HENRY WITHYCOMBE, a subject of the Queen of
Great Britain, residing in the
city of Montreal, Province of Quebec, Canada, have invented and produced a new and original
Design for Insulators, of which
the following is a specification, reference being had to the accompanying
drawings, forming part thereof, in
which --
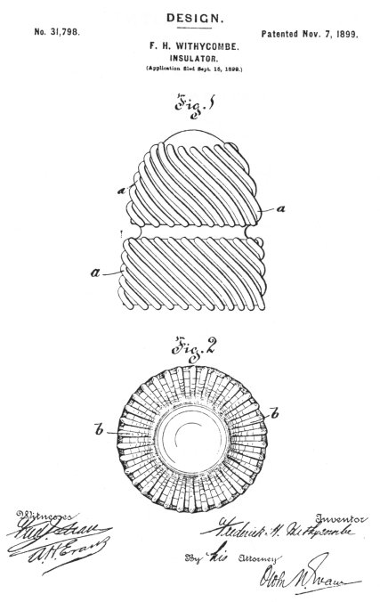
Figure 1 is a side elevation showing my new design, and Fig. 2 a plan
view of the under side thereof.
As shown in the drawings, the leading or material feature of me design
consists of the oblique ridges extending over the exposed portion of the side, as at a,
Fig. 1, and over
|
the bottom edge, as at b, Fig. 2, there being
the usual central horizontal groove encircling
the insulator, which also has a plain rounded top.
Having described my invention, what I claim as new, and desire to secure by
Letters Patent, is--
The design for an insulator, substantially as herein shown and described.
In testimony whereof I have signed in the presence of two witnesses.
FREDERICK HENRY WITHYCOMBE,
Witnesses:
WILLIAM P. MCFEAT,
FRED J. SEARS.
|
|

UNITED STATES PATENT OFFICE.
|
----------------
|
FREDERICK HENRY WITHYCOMBE, OF MONTREAL, CANADA, ASSIGNOR OF
|
ELEVEN-TWENTIETHS TO CLEMENT HENRY McLEOD, OF SAME PLACE.
|
---------
|
DESIGN FOR AN INSULATOR.
|
---------
|
SPECIFICATION forming part of Design No. 31,799, dated November 7, 1899.
|
Application filed September 15,1899. Serial No. 730,636. Term of patent 14 years.
|
|
To all whom it may concern:
Be it known that I, FREDERICK HENRY WITHYCOMBE, a subject of the Queen of Great Britain, residing in
the city of Montreal, Province
of Quebec, Canada, have invented and produced a new and original Design for Insulators, of which
the following is a specification, reference being had to the accompanying drawing, forming part thereof, in
which my new design is shown in perspective view.
As shown in the drawing, the leading or material feature of my design consists of the vertical ridges
extending over the exposed portion of the side, as at a,
And over the
bottom
|
edge, as at b, there being the usual central horizontal groove encircling the insulator, which also has a plain rounded top.
Having described my invention, what I claim as new, and desire to secure by Letters Patent, is--
The design for an insulator, substantially as herein shown and described.
In testimony whereof I have signed in the presence of the two witnesses.
FREDERICK HENRY WITHYCOMBE,
Witnesses:
WILLIAM P. McFEAT
FRED. J. SEARS.
|
|
|