1982 >> June >> Foreign Insulators  

Foreign Insulators
by Marilyn Albers

Reprinted from "INSULATORS - Crown Jewels of the Wire", June 1982, page 17

South Africa - Cullinan Industrial Porcelain Ltd.

For the first time, we have definite information about the manufacture of porcelain insulators in Africa. Again, Mr. N. R. Woodward (Houston, Texas) is the one to thank for this. So often when we write to companies in foreign countries requesting catalogs and/or insulator specimens, our requests go unanswered. This time, however, quite a bit of information was forthcoming, and Mr. Woodward was happy to share it with us. 

The Douglas Major Cullinan plant is located in Olifants Fontein, Transvaal, South Africa. It is a division of Electric Line Components Pty. Ltd., headquartered in Johannesburg. ELC, established in 1967, is a wholly owned South African company that is responsible for the marketing, design and development of the two main porcelain insulator manufacturing companies in South Africa, namely Cullinan Industrial Porcelain Ltd. and SAG Ceramics Ltd. (located in Boksburg East). These two companies, incorporated with a third company, Glass Insulators Ltd., manufacture a comprehensive range of industrial ceramics, high and low voltage porcelain insulators, and glass disc insulators -- this as a service to electrical transmission and distribution authorities throughout Southern Africa.

The Cullinan factory began in 1902 as the Consolidated Rand Brick, Pottery and Lime Company. During World War II it produced plain white crockery for use by the Southern African Railways and by the armed forces. In 1945 the demand for locally produced low tension electrical insulators began to build up, and substantial orders flowed in from the Post Office for telephone insulators.

A young man of twenty, Douglas "Major" Cullinan, came to work for the company on January 1, 1951, as a trainee. Rand Brick gradually expanded its production to include all sorts of high and low tension insulators. Their own high voltage test lab was built in 1955, and it was also during this year that the company changed its name to Cullinan Refractories Ltd. "Major" Cullinan was making his mark -- he had progressed to the position of plant supervisor. In 1971, when the company again changed its name to Cullinan Holdings Ltd., he was made joint managing director of the Cullinan Group, together with his brother Neil. One of Major's special responsibilities and interests lay in the industrial porcelain division of the group's activities, and it was his dream to build a completely new industrial porcelain factory. The Board of Directors was very skeptical! But after many reports, studies, and much research undertaken by Major Cullinan was presented to the Board, the decision was finally made to build the new factory. Had he lived just a few months longer, he would have seen the realization of his dreams. But, by a cruel stroke of fortune, Major died suddenly on October 13, 1975. The plant was fittingly named after him -- a lasting monument to a man who had the courage of his convictions. 

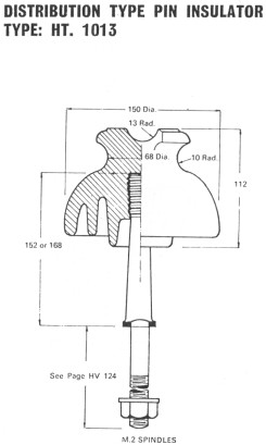
Today the Cullinan plant produces all types of insulators, from high and low voltage pin types, to shackle insulators, suspension discs and support insulators. Compared with the U.S.A., Japanese and Continental manufacturers who export all over the world, Cullinan's market is fairly small. Because of this, insulator specimens are difficult to obtain, and we have only catalog information. But we can show you drawings of typical pin types, taken from these catalogs. Insulators come with a glaze of either white or brown, but green or blue glazes can be specially ordered. The Cullinan trademark is shown below, and it is assumed that this trademark, or some variation of it, is used on their insulators.

 

 

 



| Magazine Home | Search the Archives |