Foreign Insulators
by Marilyn Albers
Reprinted from "Crown Jewels of the Wire", June 1990, page 8
CERĀMICA SANTANA SA.
Did you read in the April, 1990 issue of CROWN JEWELS that I was hot on the
trail of more information on the Santana Ceramic Factory in Brazil? Well, one of
my guardian angels (I need several) got wind of this and it wasn't long before I
received a large brown envelope in the mail. It contained a Xerox copy of
Santana's current catalog and a letter from Mark A. Miner of Longmont, Colorado.
I quote in part from that letter:
Dear Marilyn,
The information enclosed might just make your day. I don't know if this
company has been reported yet, but if it hasn't, it probably will need some new
U- numbers assigned.
The company is Ceramica Santana SA. or just plain Santana.
Through Santana's sales office in Miami, I was able to obtain a complete catalog
of their insulator products. The utility I work for is evaluating some of their
products for possible use by our organization. The sales office also provided me
with a list of customers in the U.S. and Canada, and what styles of insulators
they have ordered. The list is quite impressive -- city of Los Angeles, P.S. of
New Mexico, Consolidated Edison, etc.
The catalog shows a complete range of
insulators from small one groove telephone knobs to substation insulators rated
up to 800Kv. The catalog does not state what type of marking is used on their
insulators. However, by looking at various pictures throughout the catalog, it
appears like an under-glaze (ink) marking - SANTANA. Should you have any further
questions, please feel free to contact me or the sales representative in Miami.
Thanks, MARK A. MINER
Mark was right. It did make my day! In fact, I wore a big smile for several
days because one of my greatest pleasures is to find missing puzzle pieces. It
just so happens that I have three Santana insulators in my collection and it's
great to learn something of their background. Two of them came from a dealer in
the state of Washington and the third was the result of a trade with a collector
right here in Texas. These insulators are shown in the photos which follow along
with the Santana trademark, which also indicates the date of manufacture.
My information on the company's history is not really complete at this time,
but I have written Santana's Miami sales office to see if they can help out here.
The catalog names the city of Pedreira for the location of the main office and
shows aerial views of the company's two plants. There is no indication that
either of these is located anywhere else, so it may be safe to assume that they
are both in Pedreira. This city is about 150 miles inland from the Atlantic
seaport of Sao Luis along Brazil's northern coastline. The many rivers in this
country provide thousands of miles of navigable waterways, so l don't imagine
those 150 miles present too much of a problem when it comes to shipping
insulators.
Santana's Plant #1 was established in 1941 and has 800 employees. Its main
products are pin, suspension, line post, station post, cap and pin, spool,
strain, Multicorpo Santana porcelain insulators and bushings for low, medium and
high tension.
Plant #2 was established in 1982 and seems to be smaller, with just 220
employees. Production includes solid core porcelain insulators for station post,
line post, porcelain housing for current and potential transformers, circuit
breakers, capacitive bushings and lightning arrestors.
Ceramica Santana S.A. claims that it "is the largest producer of
porcelain insulators for electrical purposes in the Southern Hemisphere, and one
of the biggest in the world, producing more than 10,000 different items of all
kinds of insulators for low, medium, high and extra-high tension up to 800 KV
(ac/dc).
In terms of production, their Quality Control System is composed of:
1) The
Chemical Ceramics Laboratory, which oversees the incoming raw materials, their
treatment and the preparation of the ceramic bodies.
2) The Production Quality
Department, which has the primary responsibility of controlling the entire
manufacturing process quality, up to the point where the material leaves the
kilns and is checked and forwarded for final testing.
3) The Electro-Mechanical
Laboratory, which is in charge of providing final tests of the dielectric and of
complete insulators which eventual hardware. The laboratory is equipped to
perform tests according to A.B.N.T. (Brazilian Standards), ANSI, I.E.C.
(International Standards), DIN (German Standards) and other internationally
known standards."
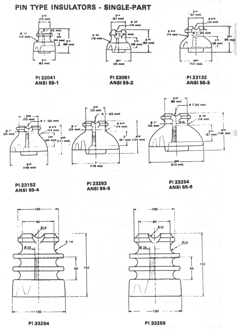
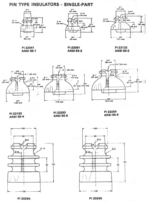
Shown on the following pages area few examples of Santana's pin-type
insulators, which would seem to be quite collectible. While none of them appear
to be out of the ordinary, they are included here to show the variety of styles
available.

Medium Image (75 Kb)
Large Image (138 Kb)

Medium Image (71 Kb)
Large Image (137 Kb)
|