Porcelain Insulator News
by Jack H. Tod
Reprinted from "INSULATORS - Crown Jewels of the Wire", August 1977, page 26
Dear Jack:
I am enclosing a picture of an high voltage porcelain insulator
that I obtained about 5 years ago from Pacific Gas and Electric Co. in Stockton,
Cal. It's a cemented 3-piece multipart, overall skirt width of 7-1/2" and 6-3/8" tall. It has a
prominent incuse marking "A. C. L. - 1" on the
largest skirt, and I would appreciate any information that you may have
regarding this.
Richard A. Peterson
Oakland, Calif.

- - - - - - - - - -
Dear Richard:
Sorry, but I have no idea of the meaning of this marking. Maybe
one of our P G & E crewmembers can decode it for us.
The insulator is a
very interesting style, and especially with the large relief cut in the crown
for the tie wire. The crown shape and lillyshell base make it look like a New
Lexington item of 1905-1910 vintage, but there is a slight chance it could be
a Locke item of same vintage. I'll bet a lot of porcelain buffs would like to
corner an old multi like this one. (Richard sent a sketch also, and the crown is
overhung over the side tiewire groove -- and thus the large relief cut in
same. First I've heard of anything like that on any pin type insulator!)
Jack

Dear Jack:
The enclosed photo shows the railroad insulators in our collection, together
with two antique locomotive candy holders (and with the original candy). The
insulators left to right are: CD136 glass "B & 0", CD-162.5 glass
"P.R.R.", U-179 porcelain "P.R.R.", U-148 "SOO",
U-152 brown "M P", U-152 white "M P", and U-293A "B
& O".
What do you think about a U-397 Roman Helmet, only 3-1/2" tall but with
thick ears? It doesn't look like a Locke.
Gerald Brown
Two Buttes, Colo.
- - - - - - - - -
Dear Gerald:
Your Roman Helmet may be a U-377 or a U-379 which is shorter than ordinary.
The following info should help you and other readers identify some of these questionables.
The U-377 generally fits only the crude Pittsburg High Voltage items, all
brown ones with the characteristic mold line all the way over the insulator rim
to rim, and all with the distinctive Pittsburg pin hole. Whereas most Helmets
have ears averaging only about 3/4" thick, these U-377 have ears about
15/16" thick.
The U-378 is from the Pittsburg catalog drawing and is probably supposed to
have been for the specimens which agree with the U-377 drawing in the Chart.
Namely, the U-377 drawing was made from actual Pittsburg specimens, and I've
never seen an animal that looked like U-378 dimensionally.
The U~379 generally fits the skirt-rest Locke #47 of about 1905-1910 vintage.
These have sanded-off rests, and most have an incuse "VICTOR" marking
on the skirt.
The U-380 is from the Locke catalog 1904-5 vintage, and specimens of this
size do exist.
The U-381 is from the drawing in the 1912 Thomas catalog, and I've never seen
one that fit this size either.
The U-382 is from the Fred Locke catalog 1902
vintage, but I've never seen one with cropped ears like this.
The early Fred M.
Locke helmets do have very thick ears (about 1" or so). These are generally
the big U-380 size, but can be U-382 (if one ever turns up) and can approximate
the U-379 for overall size. They come in both white and brown, and some have
Fred M. Locke handstamp markings. If you see one of these, even an unmarked one,
it's usually obvious at first glance that they are Fred Locke products.
Jack

Dear Jack:
My son, who is nine and a half years old, started saving glass
insulators about a year ago. We found four porcelain insulators outside an
old abandoned trolley powerhouse, and I've enclosed outline drawings and
descriptions of each one.
We also found quite a few porcelain in the old New York
Central, Penn. R.R. and Long Island R.R. yards on the East River. These yards
were used when the railroads were moving their rolling stock, boxcars, etc. on
river barges from Brooklyn and Long Island City to New Jersey, in almost the
sane manner as a ferry. Not being porcelain collectors, we took only one of each
that were different.
A reply stamp is enclosed, and we would appreciate whatever information you can give us on these.
John V. Palyo
Flushing, N.Y.
- - - - - - - - - -
Dear John:
(I am returning your sketch sheets with some detailed information
and values for each of the different items.) You really struck a goldmine with
the brown U-393, formerly found only in white. The only brown ones known were
broken specimens found in Pittsburg plant dumpage and owned by Jerry Turner in
Goshen, Ohio.
I believe all the white U-393 specimens originated from one find
in a Utah powerhouse several years ago. We list them at $30 in white -- a
scarce style. Yours is the first report of a brown one being found afield. I
can't guess its value, but it would be eagerly sought by some collectors at a
considerable premium over the white ones.
Jack
(What a fine example John and son have set for us. I'm sure when you guys
stumble onto that old abandoned trolley powerhouse that sports the brown U-393's,
you'll be careful to rescue only one specimen each and leave all the rest
for us so we can do likewise. That'll be the day!)
Ray Klingensmith (H. Orwell, OH) sent this photo of several goodies from his
collection. He got the Etheridge insulator (middle) some time ago, and I thought
I and our readers who don't have one of these rarities could at least drool over
the picture of one. It's flanked by a U-395 Mickey Mouse and a porcelain Cutter
tree insulator.

PITTSBURG Markings
1911 = 1911
1912 = 1912
1913 = 1913
1914 = 1914
1915 = 1915
PAID = 1916
Ans'd = 1917
Rec'd = 1918
Ent'd =
1919
A.M. = 1920
P.M. = 1921
When it comes to guessing
insulator markings, I usually don't join the party, but the Pittsburg High Voltage "date stamp" markings
are
inviting. These are the ones which typically read "JUN 21 1915" for years 1911 thru
1915 and "FEB 14 PAID" for unknown years.
We've always thought it possible that the markings such as "PAID" might have been year
"codes" for the later years. I haven't been able to
schedule a trip on week days to the Westinghouse plant in Derry on my various
eastern trips to look in the files for a drawing explaining these markings. I've
had a high degree of success in ferreting out this type of information from
company files when visiting the plants, but it has usually yielded little when I
merely wrote my contacts in the company and asked them to look for the info such
as this.
In any event, suppose the last year on the date stamp(s) at the marking
location was 1915 and that this created a dilemma when discovered on the first
working days in 1916. A quick solution could have been to turn the year roll to
the next slot -- such as "PAID". No problem, since the marking was for factory control
purposes only.
After the practice had become ingrained by use throughout all of
1916, it wouldn't have taken much thought to just turn the year band on the
stamp to the next word (such as "Ans'd") in 1917. The order of these
word notations on the year bands of old and modern dating stamps in my desk (I never throw out anything!)
does vary, and presumably could have 60 years ago. Thus, the above
"code" is only an example to illustrate the time span of six years
involved.
Since only a very small percentage of the production was dated for
later factory reference (maybe only one insulator for each greenware cart or one
per shelf on the cart), the continued use of the old stamp instead of
requisitioning a new one would not have been unreasonable -- and especially at
the height of World War I.
Westinghouse had a controlling interest in Pittsburg by
1910 or 1911 and owned the operation outright by 1921 or 1922. The line was
cataloged as Pittsburg High Voltage until included in the Westinghouse catalog
in 1921 -- the year when the company commenced marking insulators with their
trademark and made many changes in production methods. The production dating of
pin types ceased in 1921 at Derry.
I have a U-243 specimen with a very clear
crown stamping of "FEB 17 1921". Maybe they finally got around to buying a new
dating stamp in early 1921.
This 1921 specimen does have the Pittsburg type of
pin hole (unglazed and with flat top), but looks like 1921 vintage in other
respects -- well made, nice glaze, turned groove from one-piece plunging mold,
paraffin-resist firing rest.
It appears hopeless to decode the dates by
inspecting the specimens. There was little design or quality evolution in the
short 1916-1920 time span. But maybe now we have a second chance. If I can
ever get to the plant to check drawing files and can't locate a yellowed drawing
that decodes these date markings, I'll trot down to the production area and look
in a dusty box for the old dating stamp to determine its word sequence on the
year band. You see, some porcelain plants also never throw out anything!

Dear Jack:
... Also, what is the value of the U-11A and U-236 porcelain with embossed "G"? Are these found in the northwest only?
Steve Watkins
Portland, Oregon
- - - - - - - - -
Dear Steve:
I think the "G" pin types are
relatively scarce items in most parts of the country, and I'd think most of the
styles would be at least in the $3 to $5 area. The U-229 is a tough style to get
and is worth more. I think "G" porcelain pin types are found in Texas,
New York and elsewhere, but rarely so. You're lucky to live in the area where
these are found most frequently, since they should make good traders for you --
especially the U-229.
Jack
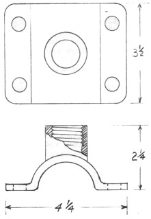
FOLLOW-UP
In the May 1977 issue of Crown Jewels we asked readers to help identify Noel
Hatfield's unusual multipart insulator (resketched here).

Many many thanks to the four
collectors who wrote to send detailed information on this insulator and its
uses.
This was a Lapp design of "equipment insulator". It had a 1"
(pipe) pin grouted into the pin hole and which was threaded on the end so it
could be screwed into various mounting bases, the most common form evidently
being that shown at the right (dwg scale not the same as insulator).
Some
excerpts from the interesting letters sent to Noel or me, or both, are included
below. The sketch of the Lapp marking sent by Jeffrey McCurty indicated the
coding notch for the year 1920 in the marker.

... We have one in our collection. It has a galvanized pin cemented into
the hollow base and was used on a local sub-station a number of years ago as a
bus-bar support..... It's embossed with the Lapp emblem on top of the upper skirt.
Ours is a two-piece cemented unit....
Jarl & Karen Anderson
E. Freetown, Mass.
....is similar to two a friend and I found in Cedar City, Utah. We had gone
up
there to visit a friend 40 miles from there and pheasant hunt. Both of us were
interested in insulators, and we stopped in Cedar City to see the electrical superintendent
for Cal-Pac Power.
We asked permission to check his salvage
yard for old glass and porcelain insulators. We found an old 34.5 Kv gang-operated, 3-phase switch
which had been hit by lightning.
There were two of these blue porcelains left intact. We had to hacksaw the
seized bolts and remove from the steel members and switch mechanism. (Enclosed
was a sketch of a triangular base part cemented in the recessed base with a
mounting bolt hole in each point of the triangle. JT)
C. W. Pyros,
Burbank,
Calif.
.... I thought to myself that your blue porcelain sure looked familiar. And indeed
it was. I purchased one extremely similar to yours over four years ago... The
top half is a rich dark blue glaze, while the bottom half is a lighter, speckled
blue glaze.
When I started to specialize in Corning-Pyrex three years ago most
everything else went into storage to make room, so my "blue" has been put
away all this tine. Last night I got it out and here is some more information
you might be able to use..... By the way, I collect only yellow porcelain now and know
very little about even those.... (Detailed sketch etc.)
Jeffrey McCurty,
Poughkeepsie, NY
(very similar and detailed info as above, but then Noel got all this, and
more, as a bonus. JT) ... I have around 250 porcelain and 700 glass insulators.
I have just about stopped collecting (more) insulators for no more shelf space
and.... Hemingrays are my pride & joy & have some goodies in them.
I
collect just about anything that's old. Have 1000 soda pops that include a very
good collection of Coca-Cola and Dr. Pepper & their go withs. Have 600
mounted pieces of barb wire, 1000 date nails, churns & butter molds, hat
& stick pins, button hooks & shoe horns, oil lamps, carnival & cut
glass, kitchen utensils & pots & pans, beaded purses, irons, razors
& strops, horse bits, farm tools,...
All our furniture is antique.... I'm
now rebuilding an oak log cabin that's 125 years old in our yard. Will be a complete home like when built & will really be a museum. We live on Lake
Texoma (quite a puddle with a 1400 mile shoreline). I make (fine) China, cc
oil & other types of painting and anything in the craft line. Can't keep up
on orders. So you can see I'm a busy you gal of 70....
Emma D. Jones,
Pottsboro,
Texas
(Folks, until you've been down to see Clarence & Emma D. Jones, you just
ain't seem nothin' yet. And all those crafts and big collections aren't just
cluttered around. Everything has its place and is nicely displayed. Emma D. hasn't
let me know whether she's added beer can collecting to her list since I was
there a few years back. I saw some things there she must have forgotten to list
in her letter. Again, you just wouldn't believe all the goody antiques. JT)
Dear Jack:
A rare find -- a tree that grew around a large porcelain insulator
- - was discovered on our family' s farm in north-western Pennsylvania. A
section of the tree (about 8-1/2" by 19") was cut off, and I'm enclosing a
photo of it.
The insulator is dark brown and, so far as is visible, it is in perfect
condition. How tempting it is to see what's underneath!
Since I am a fruit
jar buff and know little about insulators, I am wondering if this item wouldn't
be of interest to your readers. As a conversation piece, this embedded insulator is a knock-out and would be a great hit at a show. Any
information you can
give me about the insulator involved will be greatly appreciated.
(Mrs L. E.) Lorraine Scherer
Box 128, Lutsen, MN 55612
- - - - - - - - - -
Dear Lorraine:
I agree this is quite unusual. Big trees do gulp down
telephone styles on side pegs (they gather E C & M's with a chain saw and
climbers in Calif.) but you seldom find a big power cable insulator such as U-749 screwed to a tree.
Assuming the tree was still living, it would also have
been tempting to let it go another 50 years to see if the tree could have
digested the whole thing!
The insulator involved is a common one with little
value itself, so don't be tempted to see what's underneath.
Jack
(In case anyone wants an unusual mantle piece, Lorraine mentioned the item
was for sale.)
|