Porcelain Insulator News
by Jack H. Tod
Reprinted from "INSULATORS - Crown Jewels of the Wire", September 1977, page 25
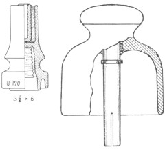
Gerald Brown (Two Buttes, Colorado) sent a sketch of the top cap for the
dummy pothead (U-190 and similars), and the drawing is shown at the far right.
I'd noticed one of these on Jerry Turner's insulator shelf (Ohio) the last
couple of times I was there, but just kept forgetting to make a drawing of it
when the spare time did come along.
These top caps seem to be much scarcer than
the main bottom part.


Dear Jack:
Enclosed is a picture of a breaker I
recently took off a guy wire. I have also seen others used as secondary breaks
in the line. I would appreciate any information -- value, age, who made them,
etc.). It is 5" by 4-1/2", dark brown, no name.
Ron Diahy
Staten Island, N.Y.
- - - - - - - - - -
Dear Ron:
We previously showed this item in Crown Jewels page 10 of Dec 1972
issue. These were reported in the Pittsburgh area with one end embossed "D. L.
CO. / 6", reportedly for Dusquesne Light Co. They are appropriately nicknamed by
collectors the "hand grenade" insulator.
Sorry, but we still don t have any background information on these -- who made them, when, etc. I have no feel for
their value, but they are an unusual style of strain and should be very good
traders.
Jack

This picture should give you some idea of the thousands of glass and
porcelain goodies I and others are hauling to the Oct 15-16 National Insulator
Association Western Regional Show at Bakersfield, Calif. This should he the
biggest and best insulator show on the west coast in years and until our
Regional next year is The National in Reno. If you miss out on going to
Bakersfield, don't say I didn't tell you. You'll probably be the only collector
who wasn't there!
If you have any whatisit puzzlers, bring then by my table so we can swap
guesses as to what they are.
Jack

Dear Jack:
I found this insulator in an abandoned prison camp in Canada. It's
3-1/2" by 3" tall and is a dark brown glaze. Could you tell me what it
was used for, its age and its value?
John Hartman
S. Plainfield, N.J.
- - - - - - - - - -
Dear John:
This is an ordinary secondary service "wireholder", and you can see
these in your home town on many of the commercial buildings and older houses.
They are used mainly to terminate the service wires that run from the alley
poles to the roof or side of the house.
The Monogram-HP marking is for the porcelain manufacturer, Hamilton
Porcelain, Ltd., Brantford, Ontario, Canada.
The SLATER is for N. Slater Co., Ltd., Hamilton, Ontario, Canada,
manufacturer of poleline hardware.
From the combination of markings, I'd guess the vintage as 1930's to early
1940's. Wireholders are reasonably common items (current styles sold in hardware
stores and electric shops), and any but very old or unusual ones would have
relatively low collector trade value.
Jack

Jim Allen (Herrin, Ill.) dropped in while vacationing to Phoenix and,
as always, he had a couple of real puzzlers in tow. Not surprising, since he
first reported such items as U-25, U-109, U-157, U-244A MACOMB, etc.
Jim's first item was the broken specimen sketched above. He found these at a
mine near his home, and this was the one most nearly intact. It proved futile to
reconstruct the top part from chips and pieces in the surrounding area. All we
know is that the boxy arrangement (with an end hole) on top is glazewelded to a
pintype base. The glaze is a chocolate brown quite like that used by Line
Material Co and Findlay, but the specimen has no markings.
This insulator arrangement might be quite a surprise to readers when they
first see it, but it immediately rang some bells for me when Jim unwrapped it.
Note the card below from my file of insulator patents. I think the specimen was
for some use other than as a break insulator as shown in this patent, but at
least it shows that more than one guy once had a ludicrous idea of how to make
an insulator.
Maybe others are as curious as I am to find out what this gadget was. If
you're around any mining or trolley systems, keep an eye out for such a thing,
and let us know if you ever see one. I doubt that we could find a drawing of it
in files at a manufacturer -- even if we knew which one made it.

Jim's second item out of the bag was even more startling. Would
you believe? A dry press pin type exactly identical to the top part of the
MACOMB U-197 glazeweld transposition.

It necessarily has an unglazed skirt rim for a firing rest. The
drawing of Jim's specimen is shown here together with the U-197 drawing in the
U- Style Chart.
Is it possible we have stumbled onto the answer to the former
puzzle of why Illinois would have made an incredibly impractical insulator as
the U-197 (two threaded parts glazewelded together without means for aligning
the thread pitch in the two parts)??

Namely, Illinois could have initially made an orthodox two-piece
transposition. Then, in an effort to derive a one-piece transposition, they
could have merely glazewelded the parts of their two-piece model -- either as an
emergency or interim measure. Then, in either planned fashion or after the U-197
was seen to be impractical, the U-197A was tooled for and made (with threads all
in the bottom part).
Where now? Simple. All we need is for one of you guys to turn up
a bottom for a two-piece tramp that agrees with the bottom of the U-197! The
proof should be positive, since the Illinois item is distinctively dry process,
whereas all other known two-piece tramps are wet process types easily
attributable to Locke or Pittsburg. I wouldn't count on such a two-piece bottom
part having the MACOMB marking such as was added to the U-197A above the bottom
wire groove.

Dear Jack:
Enclosed are photos of an insulator I found a few weeks ago. I can not find
anything about it, and can you shed some light on it for me?
It is 3-3/4" by 4-1/2", weighs 1-1/2 pounds, and is a composition
other than porcelain. The attached sketch shows the marking on its underside,
circularly around the pin hole opening. I am not sure of all the letters on it,
as some are very light. Can you let me know if I have anything?
Don Keith
Marblehead, Mass.
- - - - - - - - -
Dear Don:
Yes, you not only have something, but you really hit the jackpot. This is the
most exciting discovery of the year -- confirmation of a completely new
manufacturer of pin type insulators.
The partly illegible marking would be as follows: ALBERT AND J. M. ANDERSON
MFG. CO., BOSTON MASS. / AETNA
Possibly the "AND" would be "&", since the company
always used that form in their ads and literature.
This company was founded in 1877 and evidently always has been an Anderson
family concern. They were located at 289 "A" Street, Boston (209-305
"A" St.) and were still in operation in the 1950's -- and may still
be.
They were manufacturers of electric railway, light and power specialties. In
this connection, they made various forms of insulators -- span wire, mine, third
rail, spools, strains, etc. These were of molded composition (as yours), and
their trademark for such items was "AETNA" (Registered #22,148, Dec.
6, 1892, used since Jan. 1, 1891).
It might be rewarding if you or another collector could visit this company in
Boston (if still in operation) to learn details of the pin types they may have
made -- what styles, when made, etc. They should have old files intact with this
information. You should write or phone first to seek permission to visit their
offices for this purpose. It usually is a loser to just drop in unexpectedly,
and even a few days notice works wonders.
Jack

Dear Jack:
I do not understand exactly the use of the two-holer "spook"
insulators, so I don't savvy this 1-holer either. The 1-holer may be common as
the dickens, but I've never seen it before. What do you think?
Gerald Brown
Two Buttes, Colo.
- - - - - - - - - -
Dear Gerald:
As you know, these are insulators for neon tubing in electric signs. The neon
tube rests in the top groove and must be held in place by some means. As far as
I have determined, the original patent on these particular standoffs (which
collectors nicknamed "spooks") was #1,755,971, of April 22, 1930,
Robert C. Smalley, Arlington, N.J., assignor to Claude Neon Lights, Inc., New
York, NY. I have shown at the left a drawing from the patent which shows the
tying method and why most "spooks" have the two tie-wire holes.

As with nail knobs and cleats, everyone tried to find a better way (better
mouse traps?). I've sketched several others below from my collection
illustrating this.
The one in Figure A uses a rotating clip to retain the tubing, and this
caused a 1-eyed spook similar to yours -- which could also have been used this
way. I don't know what the ears on the side were for.
Figure B shows one which is no-eyed (blind?) from the front view. A
through-hole perpendicular to the tubing affords a retaining device such as a
cotter pin. Figure C shows another with no through-holes anywhere. A spring clip
over the tube snaps into side notches on the insulator.

There are probably many varieties and styles of "spook" insulators
(I have 11 different types), and collectors could make a nice collection of
them. The other sign insulators (sockets, bushings, feedthroughs, etc.) would
add additional interest. These can be found in the salvage yards of nearly any
large electric sign company, and they would probably make you a free gift of the
old or obsolete items. Have fun!
Jack
Dear Jack:
About one year ago I managed to start getting my yellow (porcelain)
collection from one up to a more substantial number. I now have eight different
yellows and two mustard color insulators. I am interested in these two mustards
if you can offer any information on them.
The first is a saddle top, kiln rests on both ears, a dull but very uniform
glaze. It has PINCO (3/8" long) stamped on one ear
The second is a LOCKE 44 in a very shiny butterscotch glaze, and LOCKE is
stamped directly on the top.
Both are in excellent condition and fit right in with the yellows. Could yell
please give me any approximate dates of manufacture and an approximate value of
each? How common is this color glaze?
Is there any list in Crown Jewels or other book which shows porcelain
glaze colors? I have seen whites, greys, blues, greens, yellows, gold, mustard,
browns, turquoise. Maybe some month you could give an article on colors and what
goes into the different colored glazes. How come no red glazes?
Jeff McCurty
Poughkeepsie, N.Y.
- - - - - - - - - - -
Dear Jeff:
Your "yellow" PINCO cable and Locke #44 are reasonably available in
collector circles and would have values in the $2 to $4 range at best. The PINCO
would have been about 1929-1933 vintage with that particular stamp size &
style.
The Locke would be 1918-1936 if the marking is "LOCKE". It would be
1936-1943 if the marking was "LOCKE / 44".
I listed many of the porcelain colors individually in my first book, but just
listed most of them in bulk as "unusual colors" in the Second Edition.
Practically all colors have been made and an endless variety of shades and hues
of each color. It would be pointless to make a listing of such magnitude -- and
not counting the fact some of the colors are practically indescribable or that
descriptive words would mean different things to different folks.
The basic colors seen are white, brown, yellow, blue, green and gray. It's up
to the individual to look at any specimen and supply the necessary adjectives to
describe it.
For instance, a yellow one could be tagged: Canary, butterscotch, mustard,
creamy, faded, lemon, etc.
Reds weren't made simply because such glaze formulas fire to black at the
2200 degrees used for insulators. Ohio Brass once made a small batch of reds for
a fire alarm system in a Georgia town, and they had to twice-fire them in a
laboratory kiln with great difficulty and frustration. They said never, never,
never again! I wish some southern collector would try to find out what Georgia
town these little jewels adorn.
Glaze technology would be boring to collectors, even if we could boil it down
to simple terms. It is a very complex science liberally coated with an artist's
touch and gambler's luck. So much so that companies usually keep their glaze
secrets locked in the safe. Certain glaze colors usually do require certain
ingredients, but it's not as simple as mixing up pancake batter. I understand
ceramics engineers spend lifetimes trying to learn the tricks of the trade. I am
content to remain ignorant of the subject and spend my time instead trying to
dream up adjectives to describe the colors that did come out of the kilns. Even
at that, the only color reasonably easy to describe is "white".
Jack
Dear Jack:
Am not an ardent porcelain collector (probably have 100 or so). As Canadian
glass is getting more to me, I will eventually dispose of other glass in my
collection and lean more towards specializing in Canadian glass.
I recently have run across a line being dismantled with the power porcelain
insulators on it as shown in the enclosed sketches and would like some
information (and value) on them. They have the two different Imperial Porcelain
Works stamps and also a date of 6-29-99. Is this the true date?
George G. Rahier
Penticton, B.C., Canada
- - - - - - - - -
Dear George:
I'm happy to advise you've struck a real bonanza if you can get your
hands on some of these insulators from the dismantled line.

These are the U-935, manufactured by Imperial Porcelain Works, Trenton, N.J.,
and we list them as having a trade value of $35.00. Yes, the 6-29-99 is the
manufacturing date of the specimen.
There are a number of Canadian porcelain collectors who could use these for
their collections or for swapping, and I'm sure you could use them to trade for
some nice Canadian glass you need for your own collection. That's how this game
works.
Jack
Several years ago my insulator-collecting buddy (who then didn't know his
porcelain) told me that on the previous weekend he had seen two white
U-395 Mickey Mouse porcelains at our local flea market. He was going to call me
to ask if they were worth the $10 asking price, but he didn't. Ever since that
fateful day, I've been dreaming about white Mice, but none have ever been
reported.
Jerry Turner (Ohio) called to tell me that he had just dug a white
U-395 in the old Pittsburg dumpage at Derry, Pa. The specimen is somewhat broken
but, gee whiz, who cares! If I ever came upon an abandoned line with one of
these up on the crossarm, I'm sure the first hook mark I made on the pole would
be at least 6 feet off the ground.
Dear Jack:
In Crown Jewels, May 1977 issue, page 23, is a drawing and letter from
Noel Hatfield about a peculiar insulator style. This is exactly the same as one
in my collection bearing the marking "LOCKE" on top....
Bud Truan, Jr.,
Knoxville
- - - - - - - - -
Well, I guess Lapp wasn't alone in making these.

Dear Jack:
I am specializing in the glass CD-257 and porcelain U-395. I have been
looking for information on the U-395 and was hoping you could help me.
I would like to have any general information such as manufacturers' names and
dates, embossings (if any), patents, advertising material, possibly old catalog
reprints, etc.
Scott Given
Wellington, Ohio
- - - - - - - - -
Dear Scott:
The U-395 was manufactured only by Pittsburg High Voltage Insulator Co.,
Derry, Pa. and was their #34, rated at 6600 volts. They were made from about
1913 to 1920, and I'm aware of no letters or design patents involving this
style.
The standard glaze color on U-395 was brown, varying from a light and
beautiful banded caramel to a dark mahogany. They exist in light blue (only 4
known), and also very rarely in white (see item at top of this page).
All the U-395 are unmarked with the exception of at least one of the blue
specimens which has a date stamped on it -- one of the markings used by
Pittsburg, mostly in the 1913-1915 period.
Jack
|