Porcelain Insulator News
by Jack H. Tod
Reprinted from "INSULATORS - Crown Jewels of the Wire", October 1978, page 25
15 & 35 KV Plastic Pin Insulators
Last month we reported on the line of plastic pin type insulators offered by
Hendrix Wire & Gable Corp. This month we will give you information on
plastic pin types now being marketed by Reliable Electric Company (Synthetic
Products Co. Division). Once again, thanks to Matt Grayson (Roslyn, N.Y.) for
bringing these insulators to our attention.
The Reliable plastic insulators are
pictured on the following page with some descriptive data. Utility people
wanting complete data sheets should write to: Reliable Electric Co., 11333
Addison St., Franklin Park, IL 60131.
Essentially everything said for the
Hendrix insulators last month can be said of these Reliable pin types. They are
very light in weight, reasonably indestructible in normal usage and have the
same pole-top appearance as ordinary sky-glaze porcelain insulators. Reliable
Electric Co. sent us samples of each style together with a supply of data
sheets, and these were exhibited at the National Insulator Association
convention in Reno last July.
The development and marketing background on these
new insulators can best be given by quoting, in part, from the letter received
from Richard N. Essig, Technical Services Manager, Reliable Electric Company:
"The history of the S-860 Insulator really starts with the S-823 stringing
pin insulator. The S-823 concept was developed by A. W. Ross, Line Foreman at Mass
Electric Co. in Beverly, Massachusetts early in 1970. Mr. Ross brought the ideas
to Synthetic Products Mfg. Corporation where I was Sales Manager. I, Mr. Ross and
Mr. J.P. Markham, President of SPMCO, worked for about six months to develop the
present S-823 insulator. The S-823 was an immediate success as a conductor
stringing tool. Many users of the S-823 commented that they would like a
permanent plastic insulator.

Large Image (200 Kb)
"Early in 1973, I designed the S-860 insulator. SPMCO built tooling and produced the first models of the S-860 late in 1973. In
the spring of 1974, SPMCO entered into negotiations and was finally
acquired by Reliable Electric Co. during the middle of 1974. We continued to
test and improve the S-860 to its present shape. The changes and tests were
completed during the summer of 1975.
"Both designs of the S-860 were sold commercially. The first design was
sold late in 1973; the present model has been sold since mid year 1975.
"We have had many utility customers using these insulators in areas of
high breakage due to frustrated hunters. They all report great results and high
resistance to damage.
"We would be happy to provide test data to a users who come to your
insulator show [convention].... Under separate cover, I am shipping you samples
to use at the insulator show [NIA convention in Reno] ...."
Although these new plastic pin types are highlighted as a defense against
vandalistic damage and for use with polyethylene-insulated conductors, the
byproduct advantages over the comparable porcelain pin types could lead to their
wide use by many utility companies; the plastics are much lighter, much less
breakable, considerably less expensive. Most certainly the manufacturers of
porcelain pin types for distribution lines will in the future feel a degree of
competition from plastics.

The particular design of the U-186 makes it obvious that it was probably made
by glaze-welding the crown portion to the base part, but this isn't detectable
from inspecting specimens. I've inspected about two dozen of these over the past
seven years without learning the answer, and we never had a badly broken one we
could saw apart just to satisfy curiosity. Finally at the NIA convention in
Reno, Jerry Turner (Goshen, 0.) had one with a slight glazing flaw that
allowed us to settle the question. The U-186 is a glazewelded item.

Emma Almeida (Shrewsbury, Mass.) noted with interest our discussion in
the Nov. 1977 CJ column about the difficulty in determining whether or not some
of the larger Imperials were glazewelds or one-piece construction. For example,
I stated that we thought the U-713 was a one-piece but that we weren't sure.
Emma relegated a broken U-713 specimen to the lapidary saw to section it. It is
indeed a one-piecer and not a glazeweld.
Dear Jack:
On page 55 of the 1912 Brookfield Catalog is listed as their No.60 a mine
insulator. I think this type is a rarity in glass. I've never seen nor heard of
any in collections, and apparently Mr. Milholland had never photographed
one.
As to porcelain, I have several of same dimensions in white and very similar
in shape. I think you show these as spools for rack or shackle use, but not as mine
insulators? Could they possibly be as scarce as the equivalent glass CD-1060
(the Brookfield No. 60 per above)?
Wendell Hunter,
Du Bois, Pa.
- - - - - - - - -
Dear Wendell:
The several larger sizes of Standard Porcelain spools (or knobs) such as
yours were undoubtedly used extensively as "mine insulators", but also
for large conductors in trolley systems, factories, etc. They are still probably
commonly seen in such locations but would be unavailable in other areas. But
even if certain of these large spools for insulating conductors are rare in
collector circles, keep in mind that such porcelain items which won't screw onto
a crossarm per are ho-hum items to a majority of the collectors. Not so with the
glass ones. The glass CD-1060 would be a real goody item.
This glass CD-1060 is just one of many things which Brookfield cataloged and
which are rare or have never shown up at all. This and all of the yet-unknown
Brookfield pin types are essentially carbon copies of porcelain styles made and
sold during the early 1900's. For a long tine I suggested to Hr. Woodward that
all this raised the possibility that Brookfield merely cataloged popular
porcelain styles in glass and then sat back to await orders (either with or
without the tooling on hand). Woody seemed to doubt this premise. He felt that
all the cataloged styles were probably made but that any which might have seen
use were long ago relegated to the dumps in favor of more suitable porcelain
cable types of modern times.
Events of the past five years or so have shown that Woody is probably
correct, since one after another of these various porcelain-copy Brookfields
keeps showing up as collectors dig deeper. Conceivably a specimen of each
unknown Brookfield style could eventually turn up, and that includes
CD-1060.
Several of the rare to unknown Brookfield styles (CD-171, 172, 174, 227, 229,
etc.) were Pittsburg porcelain styles, and Pittsburg was a big exporter of
insulators -- notably to Canada. The Brookfield CD-222, 223 and 224 are copies
of porcelains made by Locke and others as foreign insulators -- specifically
"Cuban Style" in some factory drawings. Dump digging in Cuba, Canada
and other countries might be the only way to eventually turn up some of these
items if they were in fact made in glass by Brookfield.
Jack

(Also from Wendell Hunter, Du Bois, Pa.)
... Another curiosity to me is a small spool, knob, or whatever that has the
minute and seemingly useless petticoat, like the U-89, 90 and 91 mine
insulators. However, it has a very odd construction so far as mold lines go
(dashed lines in the sketch at right). This thing looks like a four part
mold job to me, and a tough way to mold a small insulator?
The specimen is a dark chocolate brown, unmarked, a flat bottom rest inside
the tiny 3/16"-long petticoat. The thru-hole is 3/4" diameter with a
1/8" rounded start at the top.

Answer:
The tiny petticoat on a knob of this type is unusual, but it's not
surprising! It took 30 years for hood ornaments on Cars to disappear after
external radiator caps left the scene.
No, I can't see anything unusual in location of the mold lines on this
specimen. They're in exactly the positions one would expect for making this item
with a 4-part mold. See sketch at right which shows one die-set design which
could be used for this item.
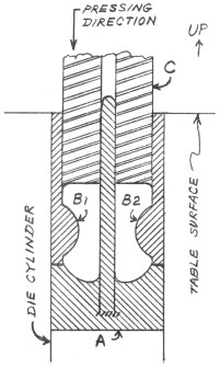
In operation, part A remains in the die cylinder. Parts B1 and B2 are
inserted into the cylinder, and then clay granules are pulled across the table
surface to fill the die cavity flush with the table surface. Die ram C is then
pressed downward to form the piece and is then retracted (reversal of the press
screw). Bottom ram A is then raised by a foot lever to eject the formed piece
and the side dies B1 and B2 from the cylinder. The side dies are lifted off, and
the formed piece is pulled off the central hole-forming pin. The bottom ram die
A is then re-lowered, the side dies reinserted in the cylinder, and the process
repeated for the next piece to be formed.
On any such simple pieces as these small knobs, you can look at the piece and
tell where the mold lines would have to be. On more complicated designs such as
the :"fireplug" insulators and self-tying knobs, the die-set design
can become very complex and of many parts.
Your particular knob design could have been made in a very simple 2-part die
set (assuming central pin a part of one of the ram dies) by merely pressing the
knob in a straight cylinder without a side groove and then later adding the
groove by green or dry trimming. In this case, the die cylinder is the same
diameter as the knob, and only the top and bottom ram dies are needed. Many
ordinary knobs with side groove(s) were customarily pressed in this manner by
some companies.
Dear Mr. Tod:
Gould, Inc. sent me Supplement B for your book, "Porcelain Insulators
Guide Book for Collectors". I think that it is a good book, but I think
that it is a little bit hard to use because it keeps referring to Supplement A.
Would you please send me Supplement A to Porcelain Insulators.
Except for some people who buy insulators once in a while, I don't really
know anybody else who collects insulators. I would like to find out about other
insulator collectors. Do you know of any organizations, newsletters etc. on the
subject of insulators? Also, I want to find out about glass insulators.
Michael Cammer age 11-1/2
18 Little Farms Rd.
Larchmont, NY 10538
- - - - - - - - -
Dear Michael:
The original book "Porcelain Insulators Guide Book for Collectors"
and its 3 Supplements are all out of print now and have been replaced by an
enlarged and improved Second Edition (1976). I'm enclosing ordering information
on that.
Insulator collecting is a very widespread hobby in the U.S. and Canada. You
will find all the collectors to be the nicest people of all ages, and each one
will be eager to help you in any way he can to enjoy the hobby. We have a
national monthly magazine devoted to insulator collecting, local and regional
clubs of insulator collectors, a National Insulator Association, numerous fine
reference books on both glass and porcelain insulators, and insulator shows
(some in your area) where you can go to meet many other collectors and see many
unusual insulators displayed.
The one thing you should consider at first is to subscribe to the magazine
"Insulators - - Crown Jewels of the Wire". It will in itself introduce
you to everything noted above (the books, clubs, Associations, shows, etc.). You
might also order the latest March issue of the magazine which is an annual
name-and-address directory of all the active collectors (and including some in
your area). To subscribe ....
Jack
NOTE:
At an NIA Board of Directors meeting at the Reno show, we discussed this very
problem of many collectors (and potential collectors) not being able to make
contact with the many organized elements of our hobby (books, clubs, shows,
etc.).
Indeed, there nay be many out there who don't even know they are not alone in
insulator collecting, and this was the case for many of us who started
collecting in the 1960's.
It was decided that a priority effort for the 1978-79 year by the NIA and its
individual members would be mass publicity of insulator collecting. A big help
would be a media-blitz on the part of the NIA Information Director, all show
hosts and individual collectors. We need newspaper and magazine articles
(interview type or otherwise) on collecting, plus a super effort on advertising
all shows (TV, newspaper items, general news releases, flea-market handbills,
etc.) Exhibits in malls and public buildings might work wonders too.
We might
easily double cur rank of collectors if we could just spread the word.
Meanwhile,
how 'bout some of you Yankee Polecat members looking up this N.Y. boy, taxi him
to a good insulator show or two? Even one new collector counts.
BOOK-RATE POSTAGE ORBITS
Over the past several years the book-rate postage has risen from $.21 to $.26
to $.30 to $.41 (2# weight). But rates nearly achieved orbit this past summer when
the rate jumped successively in less than a month from $.41, to $.50 to $.66!
Whereas buyers of books formerly were receiving postage and mailing materials
costs as a free bonus, the increasing costs have necessitated me and many other
shippers of hobby books to start charging for shipping expenses -- either the
actual amount or a nominal amount. It is not unreasonable to assume that such
shipping charges will be increased from time to time to keep pace with the
orbiting shipping costs.

Doug Bushnell (Salt Lake City) showed up at the NIA convention in Reno with a
couple of specimens of a new variety for Imperial Porcelain Works. These were
identical to The U-935A except that the slot between the pairs of side ears on
the crown was missing - making it have one large ear per side as I've indicated
in the left side of the above drawing.
The manufacturing dates on these items
were 7-3-97 and 7-13-97. At least one manufacturing date I have noted on U-935A
was 3-10-97.
Needless to say, these new Imperials were speedily snapped up by
eager buyers.
FOREIGN PORCELAIN INSULATORS
Evidently interest continues to pick up in collecting porcelain pin types
from foreign countries, judging from the mail received about them and from what
is seen at insulator shows. Many tables at the NIA convention in Reno had at
least some foreign porcelain, and there was one super exhibit based solely on
foreign insulators.
Interest would be seen greater except for the fact that it
is difficult to obtain any information on foreign items. We know little or
nothing about the manufacturers of them, the nature of the markings, manner in
which the insulators are used. I an not aware of anyone researching this
information for any country (other than Canada) or anyone who is compiling at a
single source what information is known about them.
Most people collecting
foreigns seem to be interested in forming "country" collections -- one
specimen from each country. There is also an appeal to any very oddly designed
specimens, regardless of country of origin.
We have a problem though! We have an ever-growing array of foreign porcelains
at shows which have lost their identity of country origin. Their origin may be
initially known, but it seems to get lost in the shuffle after it changes hands
a few times. I have a hunch that any foreign insulator which has an unattributed
marking and which is from some unknown land loses a great deal of its appeal to
a majority of the collectors.
I suggest as a remedy to this growing problem that
as soon as you acquire any foreign item you immediately identify the country of
origin by a small sticker firmly attached to the inside on the insulator's skirt.
Furthermore, if you have any other information on it, this can be written
on a paper which can be rolled up and inserted in the pin hole.
A second improvement would be to have some collector out there volunteer to
serve as a clearing house for information about foreign insulators, to compile
in one place all the info we presently have and to add new material to it as it
emerges. I am kept too busy on U.S. fields to handle another project such as
this. If someone does wish to take on this considerable amount of work, let us
know and we'll start it off.
This would be a great deal of work, and strictly a
labor of love. It wouldn't hurt for the person to have some artistic talent or
drafting skill to properly record and report all the various shapes and
markings. You should be able to treat all material objectively, since any
listings full of inaccuracies and guesswork can be worse than none at all. Most
important though, we need someone who knows for certain they will have the time
and energy to devote to this. It wouldn't hurt if the person doing this already
had an established interest in collecting foreign insulators.
Any volunteers??
Jack
|